タニオ・コバ M4A1カービン ジャパンスペック【エアガン レビュー】
タニオ・コバのM4カービンがついに2009年10月に発売された。
2007年9月の初取材から実に2年以上が経過していたが、ある意味それだけ熟成されて市場に投入されたともいえる。
タニオ・コバの社長、小林太三氏はモデルガンメーカーMGCの元副社長であり、日本を代表するトイガン設計者である。
1991年にMGCより独立し、タニオコバを設立。その小林社長が70歳を機に「トイガン人生5分前」と銘打って、開発を進めたのがこのガスブローバックM4A1カービンだ。
実銃のM4A1カービンはもはや説明が必要ないくらい有名ではあるが、アメリカ軍が1994年より制式採用するアサルトライフルでNATO制式の5.56mm×45 SS109ライフル弾を使用する。
2007年後半から2008年にかけて、WAからガスブロのM4 CQB-Rや、東京マルイの電動ブローバックSOPMOD M4など、偶然か必然か「ブローバックM4」が立て続けに発表された。それは2006年8月に施行された改正銃刀法によりエアソフトガンのパワー上限が法的に整備され、トイガン業界はより撃つ楽しさを追及する流れとなったとする見方もある。
小林太三氏がMGC時代に設計したエアガンだと、蓄圧式ガスセミオートのM93Rとか、ガスブロのグロックなどが私にとって思い出深い商品だ。
| タニオ・コバ M4A1カービン ジャパンスペック スペック & 初速データ | |||||||||||||||||||||
|
※東京マルイ セミバイオBB弾 0.2g使用、ホップアップ適正、気温23.8度、湿度42.0% |
||||||||||||||||||||
パッケージは茶色のシンプルなもの。
ジャパンスペックであることのシールが貼られている。
パッケージ内容は本体、マガジン、BBローダー、バレルロックキー、フロントサイトアジャストツール、BB弾少々と取り扱い説明書。

レシーバー右側面。ガスブローバックガンならではのライブで可動するボルトキャリアがリアルな雰囲気を漂わす。
レシーバーはアルミダイキャスト製で、手にするとヒンヤリとした金属感が伝わってくる。このあたりはWA M4にはない魅力だ。ただ、ボルトキャリアのへこみ部分がWAより浅く、エジェクションポートカバー裏の出っ張りもそれに応じて小さい。
マガジンハウジングにはジャパンスペックモデルとタニオコバのシルクプリント。
リアサイトは着脱式のキャリングハンドルに設置され、ダイヤルで上下左右の調節が可能。
また遠近切り替えのL型ピープサイトはM16A2から継承されている。
レシーバー右後方にあるボルトフォアードアシストノブもライブで可動し、ボルトが不完全閉塞したときにノブを押して安全にボルトを前進させることができる。

レシーバー左側面。気になるのはマガジンハウジングのシルクプリント。M4A1/GBB(=ガスブローバック)、Jul.09/STGA(=全日本トイガン安全協会)、RT/No.09 Aug250(=ロットナンバー)と入り、完全にオリジナルとなっている。
やはりここはコルトのミリタリー刻印とか、民間モデルの刻印でも入っていると嬉しかったのだが。タニオコバでは刻印バリエーションのオプションフレームも検討しているそうなので、発売を期待したい。
内臓ハンマーが落ちているときはセレクターはSEMIポジションで固定され、SAFEやAUTOポジションには入らない。

チャージングハンドルを引くと、もちろん連動してボルトキャリアが後退する。写真の位置はボルトストップがかかっている場所。気温が低い時でも、より確実にボルトストップがかかる位置まで安全策をとったようだ。
ちなみに、エジェクションポートカバーの閉まりが悪い。フレーム内側に開いている穴の位置がずれていてカバーのプランジャーが収まっていないためと思われる。これはタニコバに限らず、マルイの次世代もWAのM4も一概に締りが悪く、仮に閉まったとしてもちょっとの衝撃でパカッと開いてしまう。
実際のブローバックはもう少し後ろまでボルトキャリアが後退する。
タニオコバM4A1は可変ホップアップ機構を搭載する。ホップ調節はチャンバー後ろのエジェクションポート上部にダイヤルがある。
矢印が表示されているときがホップアップオフで、後方に回転させていくとホップが強まり、ダイヤルが一周すると再びホップがオフになる仕組み。

キャリングハンドルを取り外すとM4A1カービンならではのフラットなトップレールが現れる。
予算の都合かレールガイドナンバーは無いが、エッジは鈍すぎず鋭すぎずちょうど良い感じ。剛性の高いアルミレシーバーに光学機器をガッチリと固定できるのは嬉しい。レールの幅は実測で20.7mmだった。

フロントサイトポストから伸びるくびれのあるバレルはグレネードランチャーを固定するためのM4A1カービン特有のもの。
アウターバレルの材質はスチール製で生々しい金属の質感。やや薄いが、しっかりと5.56mmNATO弾の刻印も入っている。
粉塵を巻き上げないため下面にスリットの無いバードケージタイプのフラッシュハイダーもスチール製。
フラッシュハイダーを取り外すとM14逆ネジ仕様となっている。東京マルイ互換なので、各種サイレンサーを装着可能だ。

フロントサイトピンはおなじみの角棒タイプ。付属のフロントサイトアジャストツールで上下に調節可能。
ポスト部は亜鉛ダイキャスト製。

力感のあるマッチョな樹脂性ハンドガード。艶消しの質感も渋い。

ハンドガードはデルタリングを押し下げることで取り外すことができるが、このスリップリングスプリングが実銃並みに硬く、バレルナットのギザギザに食い込むように硬く取り付けられているので取り外すのに苦労した。
リアルなバレルナット形状で深さもあるのでRASなどを取り付けられるかもしれない。
ただしガスチューブ径が5.2mmと、実銃の4.6mmよりかなり太めなので、RASなどを装着する場合、チューブが干渉する可能性がある。
アウターバレル基部の下面にはなぜか丸い穴が開いている。
ハンドガードキャップもスチールプレス製でリアル。
アウターバレルは3ピース構造となっている。
なんとか固いハンドガードを取り外すと、内側にはリアルなアルミ製の放熱板が2重に貼られている。四隅が白いゴム接着剤で固定され、DO NOT REMOVEと刻印されており、まさに本物のようなこだわりの再現性だ。

ストックは米軍採用のエンハンスド・リトラクタブルストックタイプ。
ストックポジションは5ポジション。
リコイルバッファチューブの径は実測で28.5mm。
ほぼミルスペックチューブ径で、マルイの電動ガン用ストックなら無加工で取り付け可能だ。

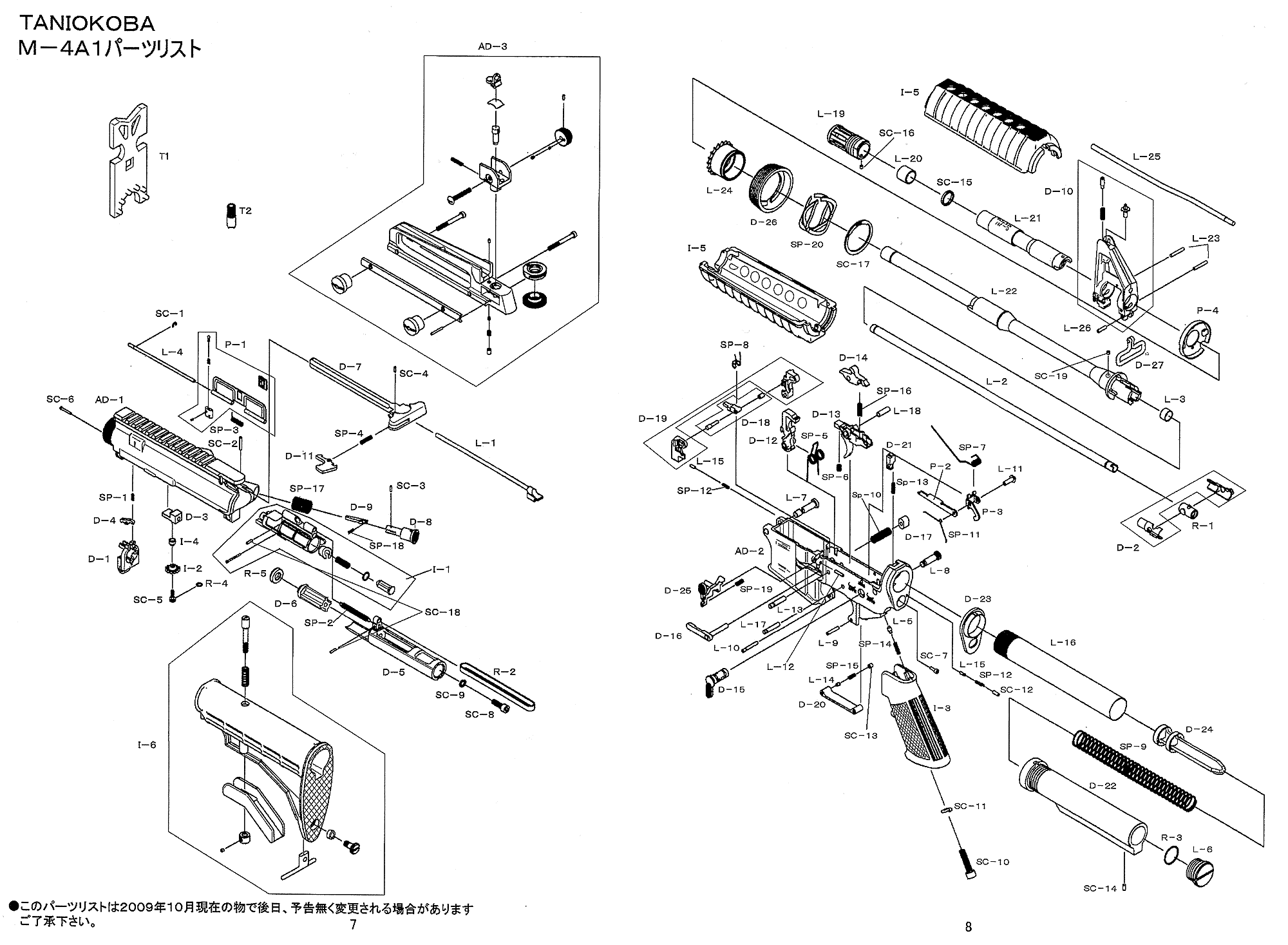
テイクダウンしてみると、実銃かと見間違うかのような内部パーツ構成。これは電動ガンにはできない魅力だ。
ブラックアウトしたハンマーやオートシアが高級感を醸し出す。リコイルバッファ周りのフレーム形状もリアルでよい雰囲気。
フレームがアルミ製ということもあり、WA M4に比べてテイクダウンが非常にカッチリと、そしてスムーズに操作できる。
テイクダウンピンを素手で左側からクッと押して右側からチャコッと引き抜くとプランジャーでカチリとストッパーがかかり、スッとアッパーレシーバーが持ち上げられるのは高精度なアルミフレームならでは。M4A1カービンでこの操作がスムーズにできると非常に満足感が高い。
テイクダウンピンもピボットピンもプランジャーでストップがかかるようになっている。
リコイルバッファは金属製で結構重い。
実測で74gもある。
リコイルバッファチューブの中に真鍮製のインナーバッファチューブがあるのがわかる。

アッパーレシーバーを下から。このあたりの形状もかなりリアルに作りこまれている。
ボルトキャリアを引き抜いて、チャンバー周辺を見てみる。可変ホップアップ用のダイヤルとHOPベースが見える。その後ろには製造元のKJWの刻印が。
インナーバレルはフロントサイトポストの1cmほど先まで入っているので、およそ25cm程度の長さだと思われる。
タニオコバのM4A1カービンにはツイストバレルが標準装備される。
ツイストバレルとはインナーバレルの内面に実銃のライフリングのような8条の溝が切ってあり、チャンバーのHOP効果で、この溝にBB弾が接触して生じるマグヌス効果によって球体のジャイロスピンによる流体減少効果が発生、BB弾の集弾性が向上するということらしい。

ボルトキャリアアセンブリ。ガスブローバックならではのリアルな形状。後ろ半分が金属製で、前が樹脂製となっている。チャージングハンドルの中にはボルトガイドと呼ばれるロッドが入っている。このチャージングハンドルも含めたボルトキャリアアセンブリの重量は207g。
シリンダーリターンベルトと呼ばれる輪ゴムがチャージングハンドルとボルトキャリアの間にある。これにより作動性を向上させているようだ。
グリップ下からタニコバ、マルイ、WAのブローバックM4を比べる。
電動ガンのグリップはモーターが入るので、やはりちょっと太い。トリガーガードの幅も12.9mmある。ちなみにWAは11.7mm、タニコバは11.9mmだ。
WAのグリップはやや肉厚があり、ぽってりとした印象。
タニコバのグリップはすっきりとしていて洗練された感じで実銃のグリップに一番近い印象だ。
グリップスクリューはM6と分解図にはあるが、6mm六角レンチでは大きく、M5のレンチで取り外すことができた。
取り外すとセレクターを固定しているスプリングとプランジャーが取れ、セレクターも簡単に取り外せる。
もちろん実物グリップはポン付けできるが、このセレクタースプリングを抑えることができるものが必要だ。
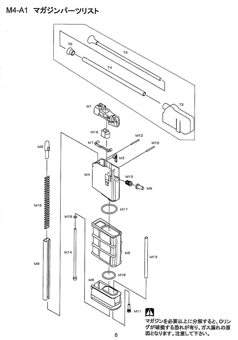
リブが特徴的なカナディアンマガジンタイプのマガジンは、6mmBB弾を38発装填できる。
マガジンの材質はアルミダイキャスト製で、上中下(アッパー、ジョイント、アンダー)パーツの3ピース構造になっている。
また、マガジンアンダーパーツにはタニオコバのトレードマークが入っている。
マガジン右側面には空撃ちモードに切り替えるためのスイッチがある。
空撃ちモードではマガジン後ろのフォロアーリンクが下がり、マガジンにBB弾が入っていなくてもボルトキャリアがホールドオープンせずに空撃ちを続けられる仕組み。
マガジンにBB弾を装填するには付属のBBローダーを使用する。
1回で32発程度をローディング可能。
本体にキャリングハンドルと空のマガジンを装着しての実測重量は3,120g。

アルミ製のキャリングハンドルは258g。
同じくアルミダイキャスト製のマガジン単体重量は426g。
さて、実射性能はというと、命中精度は室内8.5mで0.2gエクセルバイオBB弾を使用したところ5~6cmにまとまった。これは電動ガンに匹敵するほどの集弾性能といえる。やはりツイストバレルの効果と初速の安定性が良い影響を与えているようだ。
ただ、エクセルバイオ弾は直径がやや小さめだからか、低めの初速が測定されたので、マルイ純正のセミバイオBB弾を使用して弾速測定したところ、気温23.8度で75.35m/sを記録した。ツイストバレルのBB弾相性があるようなので、シチュエーションに応じてBB弾をチョイスする必要がありそうだ。
それにしてもガスブローバックとしては驚異的な命中精度で上のNishiyanさんの動画にもあるようにかなりピンポイントで狙える精度がある。
次に作動性だが、セミオートの切れは良く「バカンッ、バカンッ」と激しい金属音と共に確実にブローバックする。リコイルもWA M4 SVにはわずかに及ばないものの、かなり強めで大きな音を伴うリコイルが味わえる。
フルオート射撃では5~6発くらいから回転が不安定になる。これはWA M4も含めてガスブロの特性上、仕方ないことだが、もう少し安定していてもよさそうに思える。夏になって気温が上がればもっと安定するだろう。ただ動画の固体は気温16度においてもかなり小気味よくフルオート射撃できているので、それなりの個体差もあるようだ。
気になった点としてはホップアップ適正でも、たまに2発同時に発射してしまったり、弾がポロッと数メートル先に落ちることがあった。また、弾がなくなってもボルトがホールドオープンしないことも何度かあった。
いずれにしてもメタルフレームによる金属感のヒンヤリした感触、凝縮感のある剛性の高さ、実銃のような分解手順と構造は所有欲をくすぐるモデルと言える。可変ホップアップ+ツイストバレルの命中精度はガスブロでは特筆に価する高精度なので、サバイバルゲームにも使用できるポテンシャルを備えているといえよう。
アルミ製メタルレシーバーを標準装備して69,800円(税抜)という価格は、WA M4にメタルフレームを組み込むことを考えればそれほど高くはないはずだ。
今後さらに磨きがかかるタニコバM4A1シリーズのバリエーションにも期待が持てるし、次に発売が予定されているというAKシリーズも見逃せないアイテムとなりそうだ。

2009年12月13日のビクトリーショーにて展示されたタニコバM4のカスタムサンプル。
ダニエルディフェンスのレールシステムや、ノベスケハイダー、マグプルのグリップやストックでドレスアップされた最新のM4カービンカスタム。カッコイイ!!

しかも、このカスタムM4、ロアフレームの刻印はLMT(Lewis Machine and Tool)だったりする。

上記のLMT刻印以外にもロックリバーアームズ刻印のバリエーションも展示されていた。
関連レビュー
WA(ウエスタンアームズ) ガスガン M4A1カービン スーパーバージョン RIS
東京マルイ 次世代電動ガン SOPMOD M4
東京マルイ M4A1カービン(スタンダード電動ガン)